DDB6U104N16RR
DDB6U104N16RR
INFINEON
IGBT Modules
In Stock: 60380 pcs
fra Infineon er et stærkt effektmodul lavet til kraftig brug.Det kombinerer en diodebro og en chopper IGBT i en kompakt pakke, der giver stabil og effektiv ydelse.Med vurderinger af 1600 V og 105 A fungerer det godt i krævende systemer som motordrev, UPS og Invertable Energy Inverters.Denne artikel forklarer dens funktioner, specifikationer, fordele, problemer, applikationer og alternativer til at hjælpe dig med at forstå dens værdi i magtelektronik.
Katalog
De Ddb6u104n16rr Fra Infineon er et højtydende kraftmodul designet til krævende industrielle applikationer.Den er bygget i den pålidelige DDB6-boligserie og kombinerer en diodebro med en Chopper IGBT, der muliggør effektiv strømkonvertering og beskyttelse i højspændingskredsløb.Med en blokerende spænding på op til 1600 V og en nuværende rating på 105 A sikrer dette modul stabil drift, selv under tunge elektriske belastninger.Dets skruemonteringsdesign giver sikker installation og fremragende termisk styring, hvilket gør det velegnet til robust, langvarig brug.
DDB6U104N16RR
DDB6U104N16RR
INFINEON
IGBT Modules
In Stock: 60380 pcs
er designet til ydeevne og anvendes bredt i motordrev, UPS -systemer, frekvensomformere og bremsehakkerkredsløb, hvor der kræves effektivitet og pålidelighed.Dens lave ledningstab, stærk isolering og kompakt formfaktor giver dig mulighed for at designe kraftfulde systemer uden at gå på kompromis med rummet eller holdbarheden.
Hvis du er interesseret i at købe DDB6U104N16RR, er du velkommen til at kontakte os for priser og tilgængelighed.
• Høje ratings - Håndterer op til 1600 V og 105 A, bygget til kraftig brug.
• Chopper IGBT + Diode Bridge - Kombinerer ensretter og skift i et modul.
• Bredt temperaturområde - Arbejder sikkert fra –40 ° C op til 150 ° C.
• Lave tab - Lav fremadspændingsfald og lav mætningspænding for bedre effektivitet.
• Stærk isolering - Modstands op til 2,5 kV mellem aktive dele og bundplade.
• God køling - Lav termisk modstand til effektiv varmeafledning.
• Holdbar build - Keramisk substrat og isoleret bundplade i lang levetid.
• Kompakt design - Let skruemonteringsinstallation til sikker og stabil brug.
Parameter
(Tysk / engelsk)
|
Prøve
Betingelser
|
Min
|
Typ
|
Maks
|
Enhed
|
IGBT
|
|
|
|
|
|
Collector - Emitter
Mætningspænding (Kollektor - Emitter Sättigungsspannung) VCesat
|
TVJ = 25 ° C, iC = 50a,
VGe = 15V tVJ = 125 ° C, iC = 50a, vGe = 15v
|
2.10 2,50
|
–
|
2.8
|
V
|
Gate - Emitter
Tærskelspænding (gate-Emitter-SchwellSpannung) VGe (til)
|
TVJ = 25 ° C, iC = 2mA,
VCe = VGe
|
4.5
|
5.5
|
6.5
|
V
|
Inputkapacitans
(Eingangskapazität) cies
|
TVJ = 25 ° C, f = 1MHz,
VCe = 25v, vGe = 0V
|
–
|
3.3
|
–
|
nf
|
Collector - Emitter
Afskæringsstrøm (Kollektor-Emitter Reststrom) ICes
|
TVJ = 25 ° C, vCe =
1200v, vGe = 0V tVJ = 125 ° C, vCe = 1200v, vGe = 0V
|
0,8 4.0
|
–
|
1
|
Ma
|
Gate lækage strøm
(Gate-Emitter Reststrom) iGes
|
TVJ = 25 ° C, vCe = 0v,
VGe = 20V
|
–
|
–
|
500
|
na
|
Emitter -gate lækage
Aktuel (emitter -gate hvilestrom) iECS
|
TVJ = 25 ° C, vCe = 0v,
VGe = 20V
|
–
|
–
|
20
|
na
|
Hurtig diode (Schnelle
Diode)
|
|
|
|
|
|
Fremadspænding
(Durchlassspannung) vF
|
TVJ = 25 ° C, iF = 25a
TVJ = 125 ° C, iF = 25a
|
1,7 1,6
|
–
|
2.2
|
V
|
Gendannet gebyr
(Sperrverzögerungsladung) qrr
|
jegFM = 25a, di/dt =
800a/µs, vR = 600V tVJ = 25 ° C tVJ = 125 ° C.
|
2.3 6.0
|
–
|
–
|
µas
|

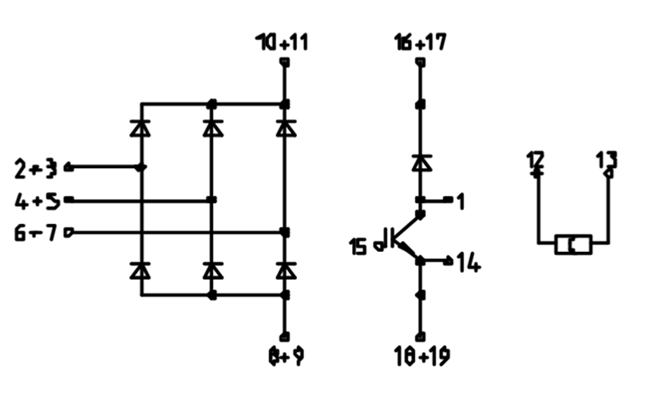
Det interne kredsløbsdiagram over
DDB6U104N16RR
DDB6U104N16RR
INFINEON
IGBT Modules
In Stock: 60380 pcs
viser modulets integrerede ensretter, tyristor og sensingselementer.På venstre side er seks dioder forbundet i en trefaset bro-konfiguration.Terminalerne mærket 2+3, 4+5 og 6+7 tjener som AC -indgangsfaser, mens 8+9 og 10+11 giver de negative og positive DC -udgange.Denne ordning sikrer effektiv konvertering af trefaset vekselstrømseffekt til DC.
I det midterste afsnit illustrerer diagrammet et tyristorkredsløb med en frihjulsdiode.Terminal 1 er anoden, 14 katoden og 15 porten til at udløse tyristoren.Terminaler 16+17 og 18+19 Tilslut dioden parallelt, hvilket tillader kontrolleret skift og beskyttelse under drift.
Til højre repræsenterer det lille symbol mellem 12 og 13 en NTC -termistor, der bruges til temperaturovervågning.Denne komponent giver systemet mulighed for at fornemme modulets termiske tilstand, sikre sikker drift og beskytte mod overophedning.

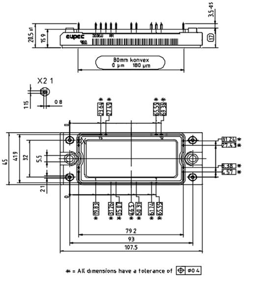
Emballagedimensionerne af
DDB6U104N16RR
DDB6U104N16RR
INFINEON
IGBT Modules
In Stock: 60380 pcs
definerer dens kompakte rektangulære struktur med en længde på ca. 107,5 mm, bredde på 45,9 mm og højde på 20,5 mm, hvilket sikrer let integration i kraftsystemer.Tegningen beskriver terminalarrangementet med præcis nummerering for ligetil forbindelser, mens standardiseret afstand understøtter kompatibilitet med PCB'er og busbarer.Monteringshuller er placeret til sikker fastgørelse, og den flade base med konveks tolerance sikrer effektiv termisk kontakt, når den er fastgjort til en køleplade.
DDB6U104N16RR
DDB6U104N16RR
INFINEON
IGBT Modules
In Stock: 60380 pcs
Fordele:
• Kombinerer Diode Bridge og Chopper IGBT i et modul.
• Kan håndtere højspænding (1600 V) og høj strøm (105 A).
• God varmeafledning til pålidelig ydelse.
• Stærkt og kompakt design med isoleret basisplade.
• Fungerer godt i barske miljøer med et bredt temperaturområde.
DDB6U104N16RR Ulemper:
• Hvis en del mislykkes, skal hele modulet udskiftes.
• Effektivitet falder ved meget høje temperaturer.
• Dyrere end at bruge enkeltkomponenter i små projekter.
• Større størrelse sammenlignet med diskrete dele.
• Ikke det bedste valg til meget højfrekvente switching.
Overophedning - Modulet kan blive for varmt, hvis afkøling er dårlig.Fix dette med en større køleplade, god luftstrøm og ordentlig montering.
Effektivitetstab - Over tid eller ved høj temperatur øges spændingsfaldet, og effektiviteten falder.Undgå dette ved at forblive inden for sikre grænser og udskifte modulet, når det er nødvendigt.
Kortslutningsskader - Strømbølger eller overbelastning kan forårsage fiasko.Brug sikringer, afbrydere eller snubberkredsløb for at beskytte modulet.
Gateproblemer - Forkerte portsignaler eller støj kan forårsage funktionsfejl.Kontroller portspænding, brug de rigtige modstande, og tilføj afskærmning om nødvendigt.
Isoleringsproblemer - Fugt eller snavs kan bryde isolering.Hold modulet rent, tørt og korrekt lukket for at forhindre lækager.
Vedvarende energi invertere - Konvertering af DC fra solcellepaneler eller vindmøller til AC til gitter eller lokal brug.
Soft-starter kredsløb - Håndtering af motorisk startmoment og begrænsning af INRush-strømme.
Industrielle motordrev & variabel frekvensdrev (VFD'er) - Kontrol af hastighed og drejningsmoment i pumper, kompressorer, fans.
UPS (uafbrudt strømforsyninger) - Som en del af ensretter og strømkonverteringstrin.
Switch-Mode Power Supplies (SMPS) og Strømkonverteringssystemer - Høj effekt DC/AC- eller AC/DC-trin.
Jernbanetraktion og transportsystemer - Kontrol af strøm i elektriske tog eller sporvogne.
Opladning af elektrisk køretøj og relateret kraftelektronik - Konvertering og håndtering af høje spændinger og strømme.
Svejsemaskiner og plasmasystemer - Til kørsel af inverter -svejsekredsløb.
HVAC -systemer - Motorstyring i kompressorer, blæsere og pumper.
Kraftoverførsel og distributionssystemer - Især i konvertere, choppere eller beskyttelseskredsløb.
Infineon Technologies
(gennem sin Eupec -arv) er producenten af
DDB6U104N16RR
DDB6U104N16RR
INFINEON
IGBT Modules
In Stock: 60380 pcs
-modulet.Oprindeligt kom design- og produktlinien fra EupEc GmbH, et tysk firma, der specialiserede sig i Power Semiconductors, som blev erhvervet og integreret i Infineons Power Electronics Division i 1999. Infineon håndterer global markedsføring, kvalifikation og support, de udsteder en produktkvalifikationsrapport (PQR) for DDB6U104N16RR, der viser overholdelse af industriens og reliabilitetsstandarder.Modulet er en del af Infineons Econobridge ™ -familie af diode-bro-moduler med bremsehakker og NTC-indstillinger, med specifikationer såsom 1600 V-spændingsvurdering, 104 en nominel strøm og op til 550 A Surge-kapacitet.
DDB6U50N16W1RP
Ddb6u84n16rr
Parameter
|
DDB6U104N16RR
DDB6U104N16RR
INFINEON
IGBT Modules
In Stock: 60380 pcs
|
DDB6U84N16RR
DDB6U84N16RR
INFINEON
IGBT Modules
In Stock: 36400 pcs
|
Fabrikant
|
Infineon (Eupec
arv)
|
Infineon (Eupec
arv)
|
Modulfamilie
|
Econobridge ™ DDB6
|
Econobridge ™ DDB6
|
Omvendt spænding
(VRRM)
|
1600 v
|
1600 v
|
Nominel strøm
|
105 a
|
85 a
|
Overspændingsstrøm (iFSM,
10 ms)
|
650 A (25 ° C), 550 a
(150 ° C)
|
Ikke specificeret (lavere
end 104n16rr)
|
Fremadspænding
(diode)
|
~ 1,10 V @ 100 A, 150
° C.
|
~ 1,55 V (nominel)
|
Igbt vCe (lør)
|
~ 2.1 v @ 50 a
|
Lignende (datablad
afhængig)
|
Gate tærskel
Spænding (vGe (th))
|
4,5 - 6,5 V
|
4,5 - 6,5 V
|
Gate trigger strøm
(JEGgt)
|
~ 5 Ma
|
~ 5 Ma
|
Gate Charge (QG)
|
~ 0,38 µc
|
Ikke specificeret
|
Termisk modstand
(RTHJC)
|
IGBT ~ 0,66 K/W, Diode
~ 0,72 k/w
|
Lidt højere
(lavere strømhåndtering)
|
Driftstemperatur
|
–40 ° C til +150 ° C
|
–40 ° C til +150 ° C
|
Isoleringsspænding
|
2,5 kV (50 Hz, 1 min
|
2,5 kV (50 Hz, 1 min
|
Monteringstil
|
Skruebeslag (m5, 4 nm
drejningsmoment)
|
Skruebeslag (m5, 4 nm
drejningsmoment)
|
Krypningsafstand
|
~ 12,5 mm
|
~ 12,5 mm
|
Modulvægt
|
~ 185 g
|
~ 185 g
|
DDB6U104N16RR
DDB6U104N16RR
INFINEON
IGBT Modules
In Stock: 60380 pcs
er det bedste valg for industrier, der har brug for høj effekt og langvarig ydeevne.Dens design gør strømkonvertering lettere, mens dens holdbarhed giver den mulighed for at håndtere hårde forhold.Selvom det kan være dyrere og sværere at erstatte, gør dens fordele inden for effektivitet og pålidelighed det værd at bruge i alle applikationer.
Datablad PDF
DDB6U104N16RR Datablad:
DDB6U104N16RR Detaljer PDFDDB6U104N16RR Detaljer PDF for fr.pdfDDB6U104N16RR Detaljer PDF for KR.PDFDDB6U104N16RR Detaljer pdf til det.pdfDDB6U104N16RR Detaljer PDF for es.pdfDDB6U104N16RR Detaljer PDF for de.pdf
Del dette indlæg